DIN SPEC 91489:2024-11 certification
Requirements for fire limitation blankets for use with electric vehicles
Certified to Perform When It Matters Most
When a fire involves an electric vehicle, every second counts — and every decision is scrutinised. DIN SPEC 91489 sets the bar for EV fire blankets, defining how they should perform under extreme heat, mechanical stress, and real-world conditions.
For procurement teams and engineers alike, certification to this standard provides measurable proof of performance and a clear basis for trust.
Fire Cloak™ not only meets these requirements — it exceeds them — giving organisations documented assurance that their fire-containment equipment is tested, traceable and ready for use.

How Fire Cloak™ Meets DIN SPEC 91489:2024-11
DIN SPEC 91489:2024-11 puts EV fire blankets through a series of demanding tests designed to simulate real-world fire conditions.
Each clause defines measurable performance criteria — not marketing claims — covering everything from heat resistance and mechanical strength to reusability and safety marking.
The information below comes directly from the independent, accredited laboratory test reports for the Fire Cloak™ EV Fire Limitation Blanket (8 x 6m) and the Fire Cloak™ XL – EV Fire Limitation Blanket (12 x 9m).
Both fire blankets were tested to DIN SPEC 91489:2024-11 by PZT GmbH (Germany), with all measurements performed under controlled conditions and documented by the lab.
These reports translate the standard into verifiable results — thermal resistance, mechanical strength, cut protection, marking, reusability and more.
DIN Test Reports
Fire Cloak™ EV Fire Limitation Blanket (8 x 6m)
5 General requirements
Requirement: A fire limitation blanket can consist of one or more composite layers of material.
Result: The fire limitation blanket consists of a single layer of material.
Compliance: ✅
Requirement: Fire limitation blankets can have a top and bottom side made of different materials. If this is the case, the sides shall be marked accordingly.
Result: The fire limitation blanket consists of a single material.
Compliance: N/A
Requirement: Fire limitation blankets shall be rectangular, with a square also to be considered as a rectangle.
Result: The blanket is rectangular. (8m x 6m)
Compliance: ✅
Requirement: The weight of the fire limitation blanket shall be specified in the manufacturer’s information.
Result: The weight is specified in the manufacturer’s information.
Compliance: ✅
Requirement: The dimensional tolerances shall be specified in the data sheet and be ≤ 5%.
Result: Tolerance values are specified in the technical documentation: ± 5%
Compliance: ✅
Requirement:
a) be positioned on at least all four corners of the fire limitation blanket
b) be at least of low ignitability in accordance with DIN EN 13501-1 (alternatively in accordance with FMVSS 302)
c) be of different colours for non-square fire limitation blankets, so that the removal direction can be clearly identified. The loop straps at the pulling side shall be red
d) be able to enclose a cylinder with a diameter of at least 0,15 m.
Result:
a) Four loops are present
b) low ignitability in accordance with FMVSS 302 /*1
c) The loop straps at the pulling side are red, the others are black
d) Enclose a 15 cm cylinder
Compliance: ✅
Requirement:
a) the respective centre point of the sides of the fire limitation blanket
b) for fire limitation blankets that can only be used on one side, markings for the top and bottom side. The markings for positioning of the fire limitation blanket are not required to have increased heat protection.
Result:
a) There are four markings in the centre of the sides
b) Not applicable
Compliance: ✅
Requirement: Open sewing edges shall be protected against detachment of threads.
Result: Open sewing edges are protected with a silicon coating against detachment of thread.
Compliance: ✅
Requirement: Manufacturers shall specify in the manufacturer information the product service life of a fire limitation blanket during which its functionality is guaranteed without use in the event of fire and in accordance with the conditions specified in the manufacturer’s information.
Result: Specification in the manufacturer’s information: available
Compliance: ✅
Requirement: The necessary information for this must be provided by the manufacturer in the accompanying manufacturer’s documentation.
Result: Specification in the manufacturer’s information: available
Compliance: ✅
Requirement: It shall be specified on the fire limitation blanket whether the fire limitation blanket is radio frequency permeable (e.g. eCall/mobile radio).
Result: Specification on the product label of the fire limitation blanket: available
Compliance: ✅
Requirement: Fire limitation blankets shall be rolled completely around a (100 ± 10) mm diameter bar, and along any axis parallel to adjacent sides.
Result:
Conditioning and testing climate: (20 ± 10) °C, (60 ± 10) %
Conditioning time: 24 h
Result: easily rollable
Compliance: ✅
Requirement: To prove the applicability, the manufacturer shall demonstrate the use of each model of fire limitation blanket by a maximum of two people on a vehicle with a width of at least 1,9 m, a height of at least 1,5 m, and a length of at least 4,75 m within 30 s. For this purpose, the fire limitation blanket shall be in its storage container before the test is started. The entire process shall be documented with video recordings. The use shall be demonstrated with both a dry and a wet vehicle.
Result: The requirement has been met by trained personnel. The testing process was documented with video recordings.
Compliance: ✅
Requirement: Due to the ongoing regulatory activities regarding perfluoroalkyl and polyfluoroalkyl substances (PFAS), PFAS-free materials should be used wherever possible in the design of fire limitation blankets.
Result:
/*2
The manufacturer declares that only PFAS-free materials used.
Compliance: ✅
Requirement: A fire limitation blanket shall be stowed in a storage container that ensures that the functionality of the fire limitation blanket is permanently maintained. The storage container shall guarantee at least IP65 protection according to DIN EN 60529 (VDE 0470-1). The size of the storage container shall be selected in such way that the fire limitation blanket can be stowed away manually after multiple use as intended.
Result:
/*3
The fire limitation blanket is stored in a sufficiently large carrying bag, which ensures that its functionality is preserved over time and allows for manual repacking after repeated use.
Compliance: ✅
Requirement: The scope of delivery of the fire limitation blanket shall always include a suitable storage container that meets the requirements described in 5.15. This requirement does not apply if a fire limitation blanket is replaced.
Result: The fire limitation blanket is supplied including a suitable storage container that fulfils the requirements described in section 5.15.
Compliance: ✅
Requirement: To ensure the identification of the covered vehicle, the fire limitation blanket shall be delivered with a transparent, waterproof document pouch for the identification of the vehicle, which can hold at least an unfolded A4-sized piece of paper. This document pouch does not need to have an increased heat protection.
Result: Document pouch is available.
Compliance: ✅
6 Thermal resistance
Requirement:
The procedure of the thermal resistance test is described in Annex A.
A.4.6 Testing of the continuous thermal load of the fire limitation blanket with direct flame exposure: – the test specimens show no holes or seam failure at the end of the test.
A.4.7 Testing of the continuous thermal load of the fire limitation blanket exposure with use of fire extinguishing agents without direct exposure to flames: – no flames emerge from the outside of the indirectly flamed side of the fire limitation blanket for more than 5 s during the test; and – the test specimens show no holes or seam failure at the end of the test.
Result: During test (with direct and no direct flame exposure), the fire limitation blanket showed no signs of holes or seam failure at the end of the test, and no flames emerged. The test result refers to the condition of the blanket at the end of the test, while it was still on the testing rig.

Graphic 1: Direct flame exposure

Graphic 2: Without direct flame exposure
Compliance: ✅
Requirement: It is permissible to transfer results of the thermal resistance test (Annex A) to fire limitation blankets of different types if the structure of the different types is identical throughout.
Result: –
Compliance: N/A
Requirement: Different models of fire limitation blankets do not require different fire behaviour tests.
Result: –
Compliance: N/A
Requirement: Fire limitation blankets shall be of at least building material class B with d0 (low ignitability without flaming droplets/particles) in accordance with DIN EN 13501-1.
Result:
/*4
Reaction to fire classification: A2 – s1, d0
Compliance: ✅
7 Mechanical stability
Requirement: The resistance to cutting of fire limitation blankets shall be tested in accordance with DIN EN ISO 13997 and must achieve at least performance level A (medium cut protection level). This corresponds to a test value of ≥ 2 N according to the cut test method in accordance with DIN EN ISO 13997.
Result:
Test method according to EN ISO 13997:2023
Conditioning and test climate: (20 ± 2) °C, (65 ± 4) %
Conditioning duration: 24 h
| Sample Cut | x Force, N | Stroke length, mm | y Stroke length with correction factor, mm (normalized) | y'=log10y | (xi-X)2 |
|---|---|---|---|---|---|
| 1 | 17,5 | 43,0 | 40,7 | 1,610 | 1 |
| 2 | 17,5 | 43,3 | 41,0 | 1,612 | 1 |
| 3 | 17,5 | 42,5 | 40,3 | 1,605 | 1 |
| 4 | 17,5 | 36,3 | 34,4 | 1,536 | 1 |
| 5 | 17,5 | 39,2 | 37,2 | 1,570 | 1 |
| 6 | 18,5 | 31,3 | 29,6 | 1,472 | 0 |
| 7 | 18,5 | 27,2 | 25,8 | 1,411 | 0 |
| 8 | 18,5 | 30,5 | 28,9 | 1,461 | 0 |
| 9 | 18,5 | 27,9 | 26,4 | 1,422 | 0 |
| 10 | 18,5 | 29,2 | 27,7 | 1,442 | 0 |
| 11 | 20,0 | 10,0 | 9,5 | 0,976 | 2 |
| 12 | 20,0 | 11,3 | 10,7 | 1,029 | 2 |
| 13 | 20,0 | 10,0 | 9,5 | 0,976 | 2 |
| 14 | 20,0 | 8,8 | 8,3 | 0,919 | 2 |
| 15 | 20,0 | 9,9 | 9,3 | 0,971 | 2 |
Blade sharpness correction factor: C = K / L
K = 20;
L – mean value of ten measurements of the cutting stroke length (mm) on neoprene at a force of 5.0 N
| Correction factor, C | Cutting stroke length (mm), L |
|---|---|
| 0,947 | 21,1 |
Regression Parameters:
| n | 15 | Number of measurements |
| X | 18,7 | Overall mean load, N |
| Σ(xi-X)2 | 16 |
| b1 | -0,250 | 6,005 | b0 |
| se1 | 1,49E-02 | 2,79E-01 | se0 |
| r2 | 0,9558 | 5,94E-02 | sey |
| F | 281,12 | 13 | df |
| ssreg | 9,92E-01 | 4,59E-02 | ssresid |
| MSE | 3,53E-03 | Mean square error |
| yr | 20 | Reference distance, mm |
| xr | 18,8 | Calculated cutting force, N |
| s | 0,25 | Standard deviation, N |
| t | 2,16 | 95% Confidence limit and interval, |
| xr +/- | 0,53 | N |
| b1 | Slope of the regression line |
| b0 | Intercept of the regression line |
| se1 | Standard error value for the coefficient b1 |
| se0 | Standard error value for the coefficient b0 |
| r2 | Coefficient of determination |
| sey | Standard error for the y estimate |
| F | F statistic |
| df | Degree of freedom |
| ssreg | Sum of squares regression |
| ssresid | Sum of squares residual |

Picture 1: Recording of the cutting force in relation to the cutting stroke length with correction factor C and the resulting regression line
The calculated cutting force xr for a cutting stroke length of 20 mm is (18,8 ± 0,5) N
Achieved performance level: D
Deviations from the test method: Test cuts were made at an angle of (45 ± 5)° to the warp and weft direction according EN 13997.
Compliance: ✅
Requirement: Fire limitation blankets with increased cut protection shall at least reach performance level D (high cut protection level) in accordance with DIN EN ISO 13997. This corresponds to a test value of > 15 N in accordance with the cut test procedure to DIN EN ISO 13997.
Result: Performance level D is reached.
Compliance: ✅
Requirement: The stability of the handling loop straps and of the entire fire limitation blanket is tested using a diagonal weight load.
Result:
Conditioning and test climate: (20 ± 10) °C, (60 ± 10) %
Conditioning duration: 24 h
The test was conducted both vertically and horizontally.
Result:
– No tearing within the fire limitation blanket,
– Neither of the two loaded retaining loops was torn off
Compliance: ✅
Requirement: If there are eyelets in the fire limitation blanket, they shall meet the requirements of the load-bearing capacity for loop straps according to 7.3.
Result: No eyelets present
Compliance: N/A
8 Electrostatic charge
Requirement: Note in the manufacturer’s information: Fire limitation blankets are pulled over the electric vehicle during use, which can lead to frictional electricity.
Result: Specification in the manufacturer’s information: available
Compliance: ✅
9 Protection from electric shock
Requirement: Note in the manufacturer’s information: The fire limitation blanket does not provide protection against electric shock.
Result: Specification in the manufacturer’s information: available
Compliance: ✅
10 Chemical resistance
Requirement: The functionality of the fire limitation blanket shall be ensured in the event of contact with typical contaminants during use (oils, greases, petrol, water with extinguishing agents etc., battery acids, etc.).
Result:
/*5
The manufacturer confirms the chemical resistance of the product.
Compliance: ✅
11 Marking
Requirement: All information and markings should be consistent and in plain language.
Result: available
Compliance: ✅
Requirement: Each fire limitation blanket shall have a permanent and clearly visible marking with the manufacturer’s and/or distributor’s name and address, the DIN SPEC number and the year of publication of this document, the manufacturing date of the fire limitation blanket (month and year), the model and type number, and a batch number.
Result: All information available
Compliance: ✅
Requirement: The position and arrangement of the container markings as well as their font style and contrast should be designed in such a way that they are easily legible for the person using them. The country-specific designation and an English designation shall be visible on the container in capital letters in a light colour on a dark background or in a dark colour on a light background. If the container is permanently attached to the storage place, the information shall be affixed in such way that it is still visible.
Result: available
Compliance: ✅
Requirement: A graphic symbol with a minimum side length of 0,1 m shall be affixed to the storage container.
Result: As part of the work on DIN SPEC 91489:2024-11, the development of a graphic symbol was initiated at ISO.
Compliance: N/A
Requirement: The manufacturer shall provide sufficiently large pictograms regarding the use of the fire limitation blanket as directly legible information.
Result: available
Compliance: ✅
12 Manufacturer’s information
Requirement: The following specifications and information shall be included in the manufacturer’s information supplied:
Result:
| Present | ||
|---|---|---|
| a) | model and type designation, as well as name and address of the manufacturer and/or the distributor; | ✅ |
| b) | basic material of the fire limitation blanket and number of the layers used; | ✅ |
| c) | size and weight of the fire limitation blanket, including tolerances; | ✅ |
| d) | requirements for multiple use (see 5.10) and the necessary instructions for cleaning the fire limitation blanket and its proper disposal; | ✅ |
| e) | a note that the fire limitation blanket shall be disposed of properly after use in the event of a fire; | ✅ |
| f) | a note that the fire limitation blankets in accordance with this document do not provide additional burst protection; | ✅ |
| g) | a note that the fire limitation blanket inhibits flue gas distribution; but does not prevent it; | ✅ |
| h) | a note regarding possible electrostatic charges (see Clause 8); | ✅ |
| i) | a note that the fire limitation blankets do not provide protection against electric shock (see Clause 9); | ✅ |
| j) | service life of the fire limitation blanket without fire contact and necessary information from the manufacturer to be able to estimate the service life of the fire limitation blanket; | ✅ |
| k) | ambient temperature for the fire limitation blanket; | ✅ |
| l) | a note that direct spraying with a fog nozzle by the fire brigade shall be avoided; | ✅ |
| m) | information regarding existing markings on the fire limitation blanket; | ✅ |
| n) | information regarding necessary steps for commissioning the fire limitation blanket; | ✅ |
| o) | a note that the fire limitation blanket should only be used by instructed personnel; | ✅ |
| p) | a note that the size of the fire limitation blanket should be selected so that it completely covers the critical object and also lies flat on the ground by at least 0,5 m on all sides; | ✅ |
| q) | a note that the ground (e.g. presence of a manhole tops, gully tops, bottom drain or similar) can have an influence on the functionality of the fire limitation blanket during use; | ✅ |
| r) | a note that the fire limitation blanket should be fixed during use if necessary, examples of how the fire limitation blanket can be fixed, and information on any pressure surges that may occur; | ✅ |
| s) | information on monitoring, as subsequent re-ignition can occur and precautions should therefore be taken to monitor the temperature; | ✅ |
| t) | instructions that specify a periodic visual inspection for damage in accordance with the manufacturer’s recommendations; An annual visual inspection should be recommended when the fire limitation blanket is not in use; | ✅ |
| u) | instructions for folding the fire limitation blanket; | ✅ |
| v) | cut protection level according to 7.1 or 7.2 and reference to test standard DIN EN ISO 13997; | ✅ |
| w) | pictograms or other illustrations explaining the use of the fire limitation blanket; and | ✅ |
| x) | information on radio frequency permeability. | ✅ |
Compliance: ✅
Fire Cloak™ XL – EV Fire Limitation Blanket (12 x 9m)
5 General requirements
Requirement: A fire limitation blanket can consist of one or more composite layers of material.
Result: The fire limitation blanket consists of a single layer of material.
Compliance: ✅
Requirement: Fire limitation blankets can have a top and bottom side made of different materials. If this is the case, the sides shall be marked accordingly.
Result: The fire limitation blanket consists of a single material.
Compliance: N/A
Requirement: Fire limitation blankets shall be rectangular, with a square also to be considered as a rectangle.
Result: The blanket is rectangular. (12m x 9m)
Compliance: ✅
Requirement: The weight of the fire limitation blanket shall be specified in the manufacturer’s information.
Result: The weight is specified in the manufacturer’s information.
Compliance: ✅
Requirement: The dimensional tolerances shall be specified in the data sheet and be ≤ 5%.
Result: Tolerance values are specified in the technical documentation: ± 5%
Compliance: ✅
Requirement:
a) be positioned on at least all four corners of the fire limitation blanket
b) be at least of low ignitability in accordance with DIN EN 13501-1 (alternatively in accordance with FMVSS 302)
c) be of different colours for non-square fire limitation blankets, so that the removal direction can be clearly identified. The loop straps at the pulling side shall be red
d) be able to enclose a cylinder with a diameter of at least 0,15 m.
Result:
a) Four loops are present
b) low ignitability in accordance with FMVSS 302 /*1
c) The loop straps at the pulling side are red, the others are black
d) Enclose a 15 cm cylinder
Compliance: ✅
Requirement:
a) the respective centre point of the sides of the fire limitation blanket
b) for fire limitation blankets that can only be used on one side, markings for the top and bottom side. The markings for positioning of the fire limitation blanket are not required to have increased heat protection.
Result:
a) There are four markings in the centre of the sides
b) Not applicable
Compliance: ✅
Requirement: Open sewing edges shall be protected against detachment of threads.
Result: Open sewing edges are protected with a silicon coating against detachment of threads.
Compliance: ✅
Requirement: Manufacturers shall specify in the manufacturer information the product service life of a fire limitation blanket during which its functionality is guaranteed without use in the event of fire and in accordance with the conditions specified in the manufacturer’s information.
Result: Specification in the manufacturer’s information: available
Compliance: ✅
Requirement: The necessary information for this must be provided by the manufacturer in the accompanying manufacturer’s documentation.
Result: Specification in the manufacturer’s information: available
Compliance: ✅
Requirement: It shall be specified on the fire limitation blanket whether the fire limitation blanket is radio frequency permeable (e.g. eCall/mobile radio).
Result: Specification on the product label of the fire limitation blanket: available
Compliance: ✅
Requirement: Fire limitation blankets shall be rolled completely around a (100 ± 10) mm diameter bar, and along any axis parallel to adjacent sides.
Result:
Conditioning and testing climate: (20 ± 10) °C, (60 ± 10) %
Conditioning time: 24 h
Result: easily rollable
Compliance: ✅
Requirement: To prove the applicability, the manufacturer shall demonstrate the use of each model of fire limitation blanket by a maximum of two people on a vehicle with a width of at least 1,9 m, a height of at least 1,5 m, and a length of at least 4,75 m within 30 s. For this purpose, the fire limitation blanket shall be in its storage container before the test is started. The entire process shall be documented with video recordings. The use shall be demonstrated with both a dry and a wet vehicle.
Result: The requirement has been met by trained personnel. The testing process was documented with video recordings.
Compliance: ✅
Requirement: Due to the ongoing regulatory activities regarding perfluoroalkyl and polyfluoroalkyl substances (PFAS), PFAS-free materials should be used wherever possible in the design of fire limitation blankets.
Result:
/*2
The manufacturer declares that only PFAS-free materials used.
Compliance: ✅
Requirement: A fire limitation blanket shall be stowed in a storage container that ensures that the functionality of the fire limitation blanket is permanently maintained. The storage container shall guarantee at least IP65 protection according to DIN EN 60529 (VDE 0470-1). The size of the storage container shall be selected in such way that the fire limitation blanket can be stowed away manually after multiple use as intended.
Result:
The fire limitation blanket is stored in a sufficiently large carrying bag, which ensures that its functionality is preserved over time and allows for manual repacking after repeated use.
Compliance: ✅
Requirement: The scope of delivery of the fire limitation blanket shall always include a suitable storage container that meets the requirements described in 5.15. This requirement does not apply if a fire limitation blanket is replaced.
Result: The fire limitation blanket is supplied including a suitable storage container that fulfils the requirements described in section 5.15.
Compliance: ✅
Requirement: To ensure the identification of the covered vehicle, the fire limitation blanket shall be delivered with a transparent, waterproof document pouch for the identification of the vehicle, which can hold at least an unfolded A4-sized piece of paper. This document pouch does not need to have an increased heat protection.
Result: Document pouch is available.
Compliance: ✅
6 Thermal resistance
Requirement:
The procedure of the thermal resistance test is described in Annex A.
A.4.6 Testing of the continuous thermal load of the fire limitation blanket with direct flame exposure: – the test specimens show no holes or seam failure at the end of the test.
A.4.7 Testing of the continuous thermal load of the fire limitation blanket exposure with use of fire extinguishing agents without direct exposure to flames: – no flames emerge from the outside of the indirectly flamed side of the fire limitation blanket for more than 5 s during the test; and – the test specimens show no holes or seam failure at the end of the test.
Result: During test (with direct and no direct flame exposure), the fire limitation blanket showed no signs of holes or seam failure at the end of the test, and no flames emerged. The test result refers to the condition of the blanket at the end of the test, while it was still on the testing rig.

Graphic 1: Direct flame exposure

Graphic 2: Without direct flame exposure
Compliance: ✅
Requirement: It is permissible to transfer results of the thermal resistance test (Annex A) to fire limitation blankets of different types if the structure of the different types is identical throughout.
Result: –
Compliance: N/A
Requirement: Different models of fire limitation blankets do not require different fire behaviour tests.
Result: –
Compliance: N/A
Requirement: Fire limitation blankets shall be of at least building material class B with d0 (low ignitability without flaming droplets/particles) in accordance with DIN EN 13501-1.
Result:
/*4
Reaction to fire classification: B – s2, d0
Compliance: ✅
7 Mechanical stability
Requirement: The resistance to cutting of fire limitation blankets shall be tested in accordance with DIN EN ISO 13997 and must achieve at least performance level A (medium cut protection level). This corresponds to a test value of ≥ 2 N according to the cut test method in accordance with DIN EN ISO 13997.
Result:
Test method according to EN ISO 13997:2023
Conditioning and test climate: (20 ± 2) °C, (65 ± 4) %
Conditioning duration: 24 h
| Sample Cut | x Force, N | Stroke length, mm | y Stroke length with correction factor, mm (normalized) | y'=log10y | (xi-X)2 |
|---|---|---|---|---|---|
| 1 | 8,0 | 43,1 | 40,8 | 1,611 | 1 |
| 2 | 8,0 | 40,4 | 38,3 | 1,483 | 1 |
| 3 | 8,0 | 41,7 | 39,5 | 1,597 | 1 |
| 4 | 8,0 | 38,0 | 36,0 | 1,556 | 1 |
| 5 | 8,0 | 45,1 | 42,7 | 1,631 | 1 |
| 6 | 9,0 | 26,0 | 24,7 | 1,392 | 0 |
| 7 | 9,0 | 24,0 | 22,7 | 1,357 | 0 |
| 8 | 9,0 | 32,6 | 30,9 | 1,490 | 0 |
| 9 | 9,0 | 27,6 | 26,2 | 1,418 | 0 |
| 10 | 9,0 | 28,1 | 26,6 | 1,425 | 0 |
| 11 | 10,5 | 12,8 | 12,1 | 1,083 | 2 |
| 12 | 10,5 | 10,2 | 9,6 | 0,984 | 2 |
| 13 | 10,5 | 9,1 | 8,6 | 0,935 | 2 |
| 14 | 10,5 | 13,1 | 12,4 | 1,093 | 2 |
| 15 | 10,5 | 6,9 | 6,5 | 0,813 | 2 |
Blade sharpness correction factor: C = K / L
K = 20;
L – mean value of ten measurements of the cutting stroke length (mm) on neoprene at a force of 5.0 N
| Correction factor, C | Cutting stroke length (mm), L |
|---|---|
| 0,947 | 21,1 |
Regression Parameters:
| n | 15 | Number of measurements |
| X | 9,2 | Overall mean load, N |
| Σ(xi-X)2 | 16 |
| b1 | -0,249 | 3,613 | b0 |
| se1 | 1,98E-02 | 1,82E-01 | se0 |
| r2 | 0,9242 | 7,87-02 | sey |
| F | 158,61 | 13 | df |
| ssreg | 9,81E-01 | 8,04E-02 | ssresid |
| MSE | 6,19E-03 | Mean square error |
| yr | 20 | Reference distance, mm |
| xr | 9,3 | Calculated cutting force, N |
| s | 0,33 | Standard deviation, N |
| t | 2,16 | 95% Confidence limit and interval, |
| xr +/- | 0,71 | N |
| b1 | Slope of the regression line |
| b0 | Intercept of the regression line |
| se1 | Standard error value for the coefficient b1 |
| se0 | Standard error value for the coefficient b0 |
| r2 | Coefficient of determination |
| sey | Standard error for the y estimate |
| F | F statistic |
| df | Degree of freedom |
| ssreg | Sum of squares regression |
| ssresid | Sum of squares residual |

Picture 1: Recording of the cutting force in relation to the cutting stroke length with correction factor C and the resulting regression line
The calculated cutting force xr for a cutting stroke length of 20 mm is (9,3 ± 0,7) N
Achieved performance level: B – This corresponds to a test value of ≥ 5 N and < 10 N according to the cut test method in accordance with DIN EN ISO 13997.
Deviations from the test method: Test cuts were made at an angle of (45 ± 5)° to the warp and weft direction according EN 13997.
Compliance: ✅
Requirement: Fire limitation blankets with increased cut protection shall at least reach performance level D (high cut protection level) in accordance with DIN EN ISO 13997. This corresponds to a test value of > 15 N in accordance with the cut test procedure to DIN EN ISO 13997.
Result: –
Compliance: N/A
Requirement: The stability of the handling loop straps and of the entire fire limitation blanket is tested using a diagonal weight load.
Result:
Conditioning and test climate: (20 ± 10) °C, (60 ± 10) %
Conditioning duration: 24 h
The test was conducted both vertically and horizontally.
Result:
– No tearing within the fire limitation blanket,
– Neither of the two loaded retaining loops was torn off
Compliance: ✅
Requirement: If there are eyelets in the fire limitation blanket, they shall meet the requirements of the load-bearing capacity for loop straps according to 7.3.
Result: No eyelets present
Compliance: N/A
8 Electrostatic charge
Requirement: Note in the manufacturer’s information: Fire limitation blankets are pulled over the electric vehicle during use, which can lead to frictional electricity.
Result: Specification in the manufacturer’s information: available
Compliance: ✅
9 Protection from electric shock
Requirement: Note in the manufacturer’s information: The fire limitation blanket does not provide protection against electric shock.
Result: Specification in the manufacturer’s information: available
Compliance: ✅
10 Chemical resistance
Requirement: The functionality of the fire limitation blanket shall be ensured in the event of contact with typical contaminants during use (oils, greases, petrol, water with extinguishing agents etc., battery acids, etc.).
Result:
/*5
The manufacturer confirms the chemical resistance of the product.
Compliance: ✅
11 Marking
Requirement: All information and markings should be consistent and in plain language.
Result: available
Compliance: ✅
Requirement: Each fire limitation blanket shall have a permanent and clearly visible marking with the manufacturer’s and/or distributor’s name and address, the DIN SPEC number and the year of publication of this document, the manufacturing date of the fire limitation blanket (month and year), the model and type number, and a batch number.
Result: All information available
Compliance: ✅
Requirement: The position and arrangement of the container markings as well as their font style and contrast should be designed in such a way that they are easily legible for the person using them. The country-specific designation and an English designation shall be visible on the container in capital letters in a light colour on a dark background or in a dark colour on a light background. If the container is permanently attached to the storage place, the information shall be affixed in such way that it is still visible.
Result: available
Compliance: ✅
Requirement: A graphic symbol with a minimum side length of 0,1 m shall be affixed to the storage container.
Result: As part of the work on DIN SPEC 91489:2024-11, the development of a graphic symbol was initiated at ISO.
Compliance: N/A
Requirement: The manufacturer shall provide sufficiently large pictograms regarding the use of the fire limitation blanket as directly legible information.
Result: available
Compliance: ✅
12 Manufacturer’s information
Requirement: The following specifications and information shall be included in the manufacturer’s information supplied:
Result:
| Present | ||
|---|---|---|
| a) | model and type designation, as well as name and address of the manufacturer and/or the distributor; | ✅ |
| b) | basic material of the fire limitation blanket and number of the layers used; | ✅ |
| c) | size and weight of the fire limitation blanket, including tolerances; | ✅ |
| d) | requirements for multiple use (see 5.10) and the necessary instructions for cleaning the fire limitation blanket and its proper disposal; | ✅ |
| e) | a note that the fire limitation blanket shall be disposed of properly after use in the event of a fire; | ✅ |
| f) | a note that the fire limitation blankets in accordance with this document do not provide additional burst protection; | ✅ |
| g) | a note that the fire limitation blanket inhibits flue gas distribution; but does not prevent it; | ✅ |
| h) | a note regarding possible electrostatic charges (see Clause 8); | ✅ |
| i) | a note that the fire limitation blankets do not provide protection against electric shock (see Clause 9); | ✅ |
| j) | service life of the fire limitation blanket without fire contact and necessary information from the manufacturer to be able to estimate the service life of the fire limitation blanket; | ✅ |
| k) | ambient temperature for the fire limitation blanket; | ✅ |
| l) | a note that direct spraying with a fog nozzle by the fire brigade shall be avoided; | ✅ |
| m) | information regarding existing markings on the fire limitation blanket; | ✅ |
| n) | information regarding necessary steps for commissioning the fire limitation blanket; | ✅ |
| o) | a note that the fire limitation blanket should only be used by instructed personnel; | ✅ |
| p) | a note that the size of the fire limitation blanket should be selected so that it completely covers the critical object and also lies flat on the ground by at least 0,5 m on all sides; | ✅ |
| q) | a note that the ground (e.g. presence of a manhole tops, gully tops, bottom drain or similar) can have an influence on the functionality of the fire limitation blanket during use; | ✅ |
| r) | a note that the fire limitation blanket should be fixed during use if necessary, examples of how the fire limitation blanket can be fixed, and information on any pressure surges that may occur; | ✅ |
| s) | information on monitoring, as subsequent re-ignition can occur and precautions should therefore be taken to monitor the temperature; | ✅ |
| t) | instructions that specify a periodic visual inspection for damage in accordance with the manufacturer’s recommendations; An annual visual inspection should be recommended when the fire limitation blanket is not in use; | ✅ |
| u) | instructions for folding the fire limitation blanket; | ✅ |
| v) | cut protection level according to 7.1 or 7.2 and reference to test standard DIN EN ISO 13997; | ✅ |
| w) | pictograms or other illustrations explaining the use of the fire limitation blanket; and | ✅ |
| x) | information on radio frequency permeability. | ✅ |
Compliance: ✅
What This Means in Practice
DIN SPEC 91489 certification isn’t just a box to tick — it’s proof of real-world performance.
Every clause in the standard is designed to mirror the conditions faced in genuine EV fire scenarios, from extreme heat and smoke containment to handling, reusability, and chemical exposure.
The following sections explain what that means for the people who depend on Fire Cloak™ — the procurement officers, engineers, and responders making critical safety decisions every day.
The test reports provide independent evidence that Fire Cloak™ meets DIN SPEC 91489. Each clause is assessed with a clear “P” (Pass) or N/A outcome, lab conditions, and supporting data. For procurement files, that’s traceable due diligence: documented thermal performance, mechanical loads, markings/labelling, PFAS-free declarations and scope-of-delivery — ready to attach to supplier records.
You get reproducible numbers from an accredited lab: temperature curves for direct/indirect flame exposure, cut-force regression to Level D, loop/blanket strength under 125 kg, deformation/roll tests, marking visibility, RF-permeability declaration, and complete manufacturer information. That’s the basis for SOPs, risk assessments, and training that rely on evidence, not assumptions.
The reports document no burn-through or seam failure under the DIN thermal sequence and confirm robust handling under load, plus practical deployment requirements (e.g., two-person applicability demonstrations and wet-vehicle conditions). This supports faster, safer containment and confidence in repeated real-world deployments.
Certified results cover reusability when undamaged, cleaning/inspection guidance, chemical resistance confirmations, and storage container suitability (e.g., IP protection and manual repacking). It’s a lifecycle view — not just “does it work?”, but “does it keep working in depot and roadside environments?”
Independent, clause-by-clause verification enables quantifiable risk reduction. Thermal containment, structural integrity, and cut resistance at Level D reduce secondary damage exposure; markings and RF-permeability promote safe, coordinated response. The reports provide the audit trail needed for underwriting, loss control and post-incident documentation.
Certified Proof & Next Steps
Fire Cloak™ certification is grounded in formal laboratory reports, not summaries.
The test reports were produced by PZT GmbH, an accredited testing laboratory in Wilhelmshaven, Germany, following DIN SPEC 91489:2024-11.
Each report identifies the product, model, size, materials, conditioning, test methods and results — including graphics/tables where applicable — and confirms compliance point by point.
Fire Cloak™ EV Fire Limitation Blanket (8 x 6m)
Fire Cloak™ XL – EV Fire Limitation Blanket (12 x 9m)
DIN SPEC 91489 — Full Standard Reference
For those who need to dig deeper, the full text of DIN SPEC 91489 (2024-11) is provided below.
This standard defines the testing methodology, performance limits and documentation requirements that every certified EV fire-limitation blanket must meet.
Reviewing the original document can help engineers, safety officers and procurement teams understand how test results are determined — and why Fire Cloak™ certification carries real technical weight.
1 Scope
This document specifies requirements for fire limitation blankets used for electric vehicles. Fire limitation blankets are not active extinguishing agents. Fire limitation blankets are primarily intended for use by instructed personnel. However, this document does not lay down specifications as to whether and by whom the fire limitation blankets are to be used.
Fire limitation blankets according to this document are intended for use on electric vehicles and are not intended for direct use on a removed and opened traction battery.
2 Normative references
The following documents are referred to in the text in such a way that some or all of their content constitutes requirements of this document. For dated references, only the edition cited applies. For undated references, the latest edition of the referenced document (including any amendments) applies.
DIN EN 13501-1, Fire classification of construction products and building elements — Part 1: Classification using data from reaction to fire tests
DIN EN 60529 (VDE 0470 1), Degrees of protection provided by enclosures (IP Code)
DIN EN ISO 13934-1, Textiles — Tensile properties of fabrics — Part 1: Determination of maximum force and elongation at maximum force using the strip method
DIN EN ISO 13997, Protective clothing — Mechanical properties — Determination of resistance to cutting by sharp objects.
3 Terms and definitions
For the purposes of this document, the following terms and definitions apply.
DIN and DKE maintain terminology databases for use in standardization at the following addresses:
— DIN-TERMinologieportal: available at https://www.din.de/go/din-term
— DKE-IEV: available at https://www.dke.de/DKE-IEV
3.1
fire limitation blanket
flexible blanket designed to spatially and temporarily limit the spread of fire or the fire process itself of electric vehicles or their traction battery
Note 1 to entry: This spatial limitation facilitates the initiation of repelling extinguishing measures by fire brigades.
3.2
traction battery
battery used to power the electric vehicle’s drive
Note 1 to entry: In German, the use of the term “Batterie” is physically incorrect, as the cells of the traction battery are rechargeable and therefore the correct term would be “Akkumulator”. However, as the term “Batterie” has become established in everyday language in the context of electromobility, this term is also used in this document. The correct term in English is “rechargeable battery”.
3.3
electrically propelled vehicle
vehicle with one or more electric drive(s) for vehicle propulsion
[SOURCE: ISO 6469-3:2021, 3.15]
3.4
type
fire limitation blanket material combined with a given size
[SOURCE: DIN EN 1869:2019-10, 3.2, modified — “fire blanket” has been replaced by “fire limitation blanket”]
3.5
model
fire limitation blanket type combined with a given container, receptacle or packaging
[SOURCE: DIN EN 1869:2019-10, 3.3, modified — “fire blanket” has been replaced by “fire limitation blanket” and “receptacle or packaging” has been added]
3.6
thermal runaway
overheating of the traction battery due to self-reinforcing heat-producing processes
Note 1 to entry: A thermal runaway can be initiated by a damaged traction battery and can lead to a delayed re-ignition even after a burning electric vehicle has been extinguished.
4 General
Fire limitation blankets are designed for proactive fire limitation. In connection with traction batteries in thermal runaway, they are intended to limit the spread of fire and the associated smoke and heat development to the surrounding area.
NOTE: Potential use cases for a fire limitation blanket according to this document could therefore be, for example, the additional securing of extinguished electric vehicles damaged in an accident and in quarantine areas [1] or the demarcation of critical vehicles on ferries.
Fire limitation blankets can be both manually operated and automated systems. Automated systems are not fabric curtains as defined in DIN EN 16034.
Fire limitation blankets can have increased protection against cutting. Fire limitation blankets with increased protection against cutting shall meet additional requirements according to 7.2.
5 General requirements
5.1 A fire limitation blanket can consist of one or more composite layers of material.
5.2 Fire limitation blankets can have a top and bottom side made of different materials. If this is the case,
the sides shall be marked accordingly.
5.3 Fire limitation blankets shall be rectangular, with a square also being a rectangle.
5.4 The weight of the fire limitation blanket shall be specified in the manufacturer’s information.
5.5 The functionality of the fire limitation blanket shall not be impaired by reduced dimensions.
Due to manufacturing processes, dimensional tolerances can occur. These tolerances shall be specified in the data sheet and be ≤ 5 %.
5.6 Loop straps as handling devices shall:
a) be positioned on at least all four corners of the fire limitation blanket;
b) be at least of low ignitability in accordance with DIN EN 13501-1 (alternatively in accordance with FMVSS 302);
c) be of different colours for non-square fire limitation blankets, so that the removal direction can be clearly identified. The loop straps at the pulling side shall be red, similar to RAL 30001; and
d) be able to enclose a cylinder with a diameter of at least 0,15 m.
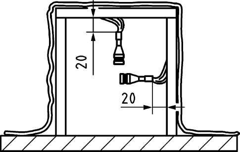
The setup is shown in Figure 1.

Key
a = loop straps (red)
b = loop straps (not red)
c = example for optional straps (not red)
d = marking of the centre of the sides of the fire limitation blanket
e = removal direction
Figure 1 — Fire limitation blanket with coloured straps and markings at the centres of the sides
5.7 To ensure the best possible positioning of the fire limitation blanket, at least the following markings shall be affixed to the fire limitation blanket:
a) the respective centre point of the sides of the fire limitation blanket (see Figure 1); and
b) for fire limitation blankets that can only be used on one side, markings for the top and bottom side.
The markings for positioning of the fire limitation blanket are not required to have increased heat protection.
Further information regarding the markings applied to the fire limitation blanket or other available length scaling shall be provided in the manufacturer information.
5.8 Open sewing edges shall be protected against detachment of threads.
NOTE: This can be done by sewing or welding. Fraying of the blanket’s edges can be prevented by using tight selvedges or by an additional step of folding.
5.9 Manufacturers shall specify in the manufacturer information the product service life of a fire limitation blanket during which its functionality is guaranteed without use in the event of fire and in accordance with the conditions specified in the manufacturer’s information.
5.10 Multiple use of fire limitation blankets shall be ensured when used as intended. This requirement only applies when:
a) the fire limitation blanket was not exposed to fire when it was used;
b) the fire limitation blanket was not damaged during its use (e.g. tears or UV damage); and
c) the fire limitation blanket has not been contaminated by chemicals/contaminants (e.g. engine oil, brake fluid, extinguishing water with additives) during its use or when it is possible to clean the fire limitation blanket after use to remove typical contaminants (e.g. engine oil, brake fluid, extinguishing water) in accordance with the manufacturer’s information. The manufacturer shall include the necessary details in the accompanying manufacturer’s information.
If the fire limitation blanket can no longer be used, it shall be disposed of properly.
NOTE: Reference is made to national regulations regarding disposal.
Limits of use should be specified in the manufacturer’s information.
5.11 It shall be specified on the fire limitation blanket whether the fire limitation blanket is radio frequency permeable (e.g. eCall/mobile radio).
NOTE: If the fire limitation blanket does not ensure radio frequency permeability, the vehicle’s eCall or other warning systems in use can be disrupted or prevented.
5.12 Fire limitation blankets shall be able to be used without damage or deformation that impedes their intended use. This is given when the fire limitation blanket can be rolled completely around a (100 ± 10) mm diameter bar, and along any axes parallel to adjacent sides. The fire limitation blanket shall be stored at (20 ± 10) °C, at a relative humidity of (60 ± 10) % for a minimum of 24 h immediately prior to testing.
5.13 To prove the applicability, the manufacturer shall demonstrate the use of each model of fire limitation blanket by a maximum of two people on a vehicle with a width of at least 1,9 m, a height of at least 1,5 m, and a length of at least 4,75 m within 30 s. For this purpose, the fire limitation blanket shall be in its storage container before the test is started. The entire process shall be documented with video recordings. The use shall be demonstrated with both a dry and a wet vehicle.
5.14 Due to the ongoing regulatory activities regarding per- and polyfluoroalkyl substances (PFAS), PFASfree materials should be used wherever possible in the design of fire limitation blankets.
5.15 A fire limitation blanket shall be stowed in a storage container that ensures that the functionality of the fire limitation blanket is permanently maintained. The storage container shall guarantee at least IP65 protection according to DIN EN 60529 (VDE 0470-1). The size of the storage container shall be selected in such way that the fire limitation blanket can be stowed away manually after multiple use as intended.
NOTE: The storage container can be made of a flexible or rigid material.
5.16 The scope of delivery of the fire limitation blanket shall always include a suitable storage container that meets the requirements described in 5.15. This requirement does not apply if a fire limitation blanket is replaced.
5.17 To ensure the identification of the covered vehicle, the fire limitation blanket shall be delivered with a transparent, waterproof document pouch for the identification of the vehicle, which can hold at least an unfolded A4-sized piece of paper. This document pouch does not need to have an increased heat protection.
NOTE: The document pouch allows for the identification of the vehicle without having to remove the fire limitation blanket from the vehicle. The document pouch can be attached to the handling loop strap, for example.
6 Thermal resistance
6.1 The procedure of the thermal resistance test is described in Annex A.
6.2 It is permissible to transfer results of the thermal resistance test (Annex A) to fire limitation blankets of different types if the structure of the different types is identical throughout.
6.3 Different models of fire limitation blankets do not require different fire behaviour tests.
6.4 Fire limitation blankets shall be of at least building material class B with d0 (low ignitability without flaming droplets/particles) in accordance with DIN EN 13501-1.
7 Mechanical stability
7.1 Resistance to cutting
The resistance to cutting of fire limitation blankets shall be verified in accordance with DIN EN ISO 13997. For this purpose, six test specimens are to be cut from a fire limitation blanket by the tester. Three test specimens are to be cut in the longitudinal direction and three specimens are to be cut in the transverse direction across the width of the fire limitation blanket.
During the test, the test specimens shall reach at least performance level A (medium cut protection level). This corresponds to a test value of ≥ 2 N according to the cut test method in accordance with DIN EN ISO 13997.
7.2 Increased cut protection
Fire limitation blankets with increased cut protection shall at least reach performance level D (high cut protection level) in accordance with DIN EN ISO 13997. For this purpose, six test specimens are to be cut from a fire limitation blanket by the tester. Three test specimens are to be cut in the longitudinal direction and three specimens are to be cut in the transverse direction across the width of the fire limitation blanket.
This corresponds to a test value of > 15 N in accordance with the cut test procedure to DIN EN ISO 13997.
If the fire limitation blanket alone does not provide sufficient cut protection, a combination of cut protection blanket and fire limitation blanket is also possible. In this case, the cut protection blanket is placed between the vehicle and the fire limitation blanket.
NOTE: This can be the case, for example, if the integration of the cut protection would increase the weight of the fire
limitation blanket to such an extent, that application in accordance with 5.13 is no longer possible.
If such combinations are offered by a manufacturer, they shall guarantee that this combination of cut protection blanket and fire limitation blanket offered by them is compatible and that the cut protection blanket does not impair the functionality of the fire limitation blanket. In this case, the cut protection of the cut protection blanket shall meet the requirements of DIN EN ISO 13997 specified above in this subclause.
7.3 Stability of the handling loop straps and of the entire fire limitation blanket
The stability of the handling loop straps and of the entire fire limitation blanket is tested using a diagonal weight load. The fire limitation blanket shall be stored at (20 ± 10) °C, at a relative humidity of (60 ± 10) % for a minimum of 24 h immediately prior to testing.
For this purpose, one loop strap is to be firmly tensioned and a weight of (100 ± 2,5) kg is to be attached to the diagonally opposite strap without jerking. The fire limitation blanket shall hold this weight for at least 60 s. After 60 s, an additional mass of (25 ± 1) kg shall be dropped unbraked from a height of at least 0,3 m onto the other weights, so that the fire limitation blanket is then loaded with 125 kg. After another 30 s the test is completed.
The fire limitation blanket has failed this test if an open crack has formed within the fire limitation blanket or if one of the two loaded loop straps has been torn off.
This test may be carried out both vertically and horizontally using a deflection pulley between fire limitation blanket and the weight. When testing horizontally, it shall be ensured that the fire limitation blanket does not rest during the test.
Figure 2 shows the theoretical test set-up.

a) vertical test set-up

b) horizontal test set-up
Figure 2 — Test set-up for testing the stability of the loop straps and the entire fire limitation blanket
Alternatively, the maximum tensile force may be determined using the strip tensile test in accordance with DIN EN ISO 13934-1, whereby four test specimens shall be used. In this case, two test specimens shall include one corner loop strap (test at a 45° angle to the fire limitation blanket), and two test specimens shall be measured at right angles to a textile web joint seam. The maximum tensile forces or load shall at least meet the above requirements.
7.4 Eyelets
If there are eyelets in the fire limitation blanket, they shall meet the requirements of the load-bearing capacity for loop straps according to 7.3.
8 Electrostatic charge
The following information shall be added to the manufacturer’s information for fire limitation blankets:
Fire limitation blankets are pulled over the electric vehicle during use, which can lead to frictional electricity.
What is usually without consequences in preventive use can, in the worst case, ignite the flue gas via electrostatic discharge in connection with an incipient fire (e.g. smoke formation at an electric vehicle, no visible flames yet). Flue gas from an onset thermal runaway or a damaged lithium-ion battery is considered flammable.
9 Protection from electric shock
The fire limitation blanket does not provide protection against electric shock.
Information on this shall be included in the manufacturer’s information for the fire limitation blanket.
10 Chemical resistance
The functionality of the fire limitation blanket shall be ensured in the event of contact with typical contaminants during use (oils, greases, petrol, water with extinguishing agents etc., battery acids, etc.).
11 Marking
11.1 All information and markings should be consistent and in plain language.
11.2 Each fire limitation blanket shall have a permanent and clearly visible marking with the manufacturer’s and/or distributor’s name and address, the DIN SPEC number and the year of publication of this document, the manufacturing date of the fire limitation blanket (month and year), the model and type number, and a batch number.
11.3 The position and arrangement of the container markings as well as their font style and contrast should be designed in such a way that they are easily legible for the person using them. The country-specific designation and an English designation shall be visible on the container in capital letters in a light colour on a dark background or in a dark colour on a light background.
NOTE: The consortium recommends the English term FIRE LIMITATION BLANKET; a final term has not been established in the English language.
If the container is permanently attached to the storage place, the information shall be affixed in such way that it is still visible.
11.4 A graphic symbol with a minimum side length of 0,1 m shall be affixed to the storage container.
NOTE: As part of the work on this document, the development of a graphic symbol was initiated at ISO. It should therefore always be checked whether this work has been completed and then this graphic symbol should be used.
11.5 The manufacturer shall provide sufficiently large pictograms regarding the use of the fire limitation blanket as directly legible information.
12 Manufacturer’s information
The following specifications and information shall be included in the manufacturer’s information supplied:
a) model and type designation, as well as name and address of the manufacturer and/or the distributor;
b) basic material of the fire limitation blanket and number of the layers used;
c) size and weight of the fire limitation blanket, including tolerances;
d) requirements for multiple use (see 5.10) and the necessary instructions for cleaning the fire limitation blanket and its proper disposal;
e) a note that the fire limitation blanket shall be disposed of properly after use in the event of a fire;
f ) a note that the fire limitation blankets in accordance with this document do not provide additional burst protection;
g) a note that the fire limitation blanket inhibits flue gas distribution; but does not prevent it;
h) a note regarding possible electrostatic charges (see Clause 8);
i) a note that the fire limitation blankets do not provide protection against electric shock (see Clause 9);
j) service life of the fire limitation blanket without fire contact and necessary information from the manufacturer to be able to estimate the service life of the fire limitation blanket;
k) ambient temperature for the fire limitation blanket;
l) a note that direct spraying with a fog nozzle by the fire brigade shall be avoided;
m) information regarding existing markings on the fire limitation blanket;
n) information regarding necessary steps for commissioning the fire limitation blanket;
o) a note that the fire limitation blanket should only be used by instructed personnel;
p) a note that the size of the fire limitation blanket should be selected so that it completely covers the critical object and also lies flat on the ground by at least 0,5 m on all sides;
q) a note that the ground (e.g. presence of a manhole tops, gully tops, bottom drain or similar) can have an influence on the functionality of the fire limitation blanket during use;
r) a note that the fire limitation blanket should be fixed during use if necessary, examples of how the fire limitation blanket can be fixed, and information on any pressure surges that may occur;
s) information on monitoring, as subsequent re-ignition can occur and precautions should therefore be taken to monitor the temperature;
t) instructions that specify a periodic visual inspection for damage in accordance with the manufacturer’s recommendations;
An annual visual inspection should be recommended when the fire limitation blanket is not in use;
u) instructions for folding the fire limitation blanket;
v) cut protection level according to 7.1 or 7.2 and reference to test standard DIN EN ISO 13997;
w) pictograms or other illustrations explaining the use of the fire limitation blanket; and
x) information on radio frequency permeability.
13 Minimum content of the test report for each tested fire limitation blanket
The test report of the tested fire limitation blanket shall at least contain the following information:
a) model and type designation, and name and address of the manufacturer and/or the distributor;
b) reference to this document, including date of issue;
c) measured weight and measured dimensions;
d) result of the applicability test (see 5.13);
e) results of the thermal resistance tests (see Clause 6) and the measured temperature curves;
f ) results of the mechanical stability tests (see Clause 7);
g) a summarizing expert opinion on the use of the fire limitation blanket;
h) any deviation from the procedure described;
i) any peculiarities found;
j) test date;
k) manufacturer’s declarations for tests not carried out in the laboratory; and
l) name and address of the body that issued the expert opinion on the use of the fire limitation blanket based on the test results.
Annex A (normative)
Thermal resistance test
A.1 General Information
WARNING — It is pointed out that it is necessary to take precautions against fire risks and the inhalation of smoke or toxic combustion products to protect the health of the test personnel.
All personnel involved in the management and performance of fire resistance tests are reminded that fire tests can be dangerous and that there is a possibility of toxic and/or harmful smoke and gases escaping during the test. Mechanical and process-related hazards can also occur during the set-up of the test specimen or the test construction, their testing, and the disposal of the test residues.
A.2 Principle
As part of the thermal resistance test, test specimens of a fire limitation blanket are subjected to thermal stress that is intended to reflect the fire behaviour of an electric vehicle (burning of the vehicle, delayed ignition of single cells, and extinguishing activities of the fire brigade). The temperature on the surface of the fire limitation blanket is varied by means of adjustable, defined burner flames. On the one hand, the delayed ignition of individual cells of the traction battery is simulated, whereby the fire limitation blanket is exposed to the direct burner flame. On the other hand, a continuous thermal stress on the fire limitation blanket is simulated without direct flame exposure, as well as the thermal stress caused by the cooling effect when using extinguishing water.
A.3 Apparatus
Burner type Sievert 29442, with propane up to 6 700 g/h, or similar.
Frame (see Figure A.1) with an applied metal sheet with a thickness of (0,7 ± 0,1) mm and with an opening width of at least 0,35 m each.

a) test set-up without applied sheet

b) test set-up with applied sheet
Key
h = height (500 ± 5) mm
L = length (500 ± 5) mm
w = width (500 ± 5) mm
X1 = thermocouple 1
X2 = thermocouple 2
Figure A.1 — Dimensions of the frame for testing the thermal resistance without and with a sheet in place and the positions of two of the three thermocouples (X1 und X2)
Thermocouples: The first thermocouple (see X1 in Figure A.1) for monitoring the temperature regarding thermal resistance is located on the upper side of the frame facing away from the flame between the frame and the fire limitation blanket. The second thermocouple (see X2 in Figure A.1) for monitoring the temperature of direct flame impingement is located (10 ± 5) mm in front of the surface of the fire limitation blanket on the side facing the flame (before heating). A third thermocouple is located (10 ± 5) mm above the experimental set-up. This thermocouple is not shown in Figure A.1.
A.4 Procedure
A.4.1 For the thermal resistance test, two test specimens with a width of (1,0 ± 0,1) m and a length of (2,5 ± 0,1) m are to be cut from a fire limitation blanket. The blanket cut-out shall correspond to the configurations of the entire fire limitation blanket. If the fire limitation blanket has seams to connect the material layers, the test specimens shall have a seam in the middle of the test specimen.
A.4.2 The test specimens of the fire limitation blanket shall be stored immediately prior to testing at a temperature of (20 ± 10) °C and a relative humidity of (60 ± 10) % for at least 24 h and until mass constancy has been demonstrated.
A.4.3 The test specimens of the fire limitation blankets are to be placed centrally on the stand, whereby the longer side of the fire limitation blanket shall completely close the opening with the burner X2. The test specimens shall be secured against slipping. It shall be ensured that the fire limitation blanket is not tightly stretched. Figure A.2 shows the experimental set-up. The distance of the burner to the surface of the sheet or the fire limitation blanket shall be 0,2 m.

Figure A.2 — Test set-up for testing the thermal resistance
A.4.4 The ambient temperature shall be between 10 °C and 35 °C.
A.4.5 The thermal resistance test consists of two experiments. The first test determines the continuous thermal stress of the fire limitation blanket with direct flame exposure (see A.4.6). A new test specimen is then used to simulate the continuous thermal stress on the fire limitation blanket without direct flame exposure and with the use of extinguishing agents (see A.4.7).
A.4.6 To test the thermal continuous load of the fire limitation blanket with direct flame exposure, the burner is to be set so that a temperature according to Table A.1 is reached at thermocouple X2 (see Figure A.1). The test is aborted after 23 min.
The test is deemed to have been passed if the test specimens show no holes or seam failure at the end of the test.
A.4.7 For the continuous thermal stress test of the fire limitation blanket with use of fire extinguishing agents without direct exposure to flames, the burner is set so that a temperature according to Table A.1 is reached at thermocouple X1 (see Figure A.1). After 23 min, the test specimen is doused from above with 250 ml of water at a temperature of (20 ± 5) °C and the test is then terminated.
The test is deemed to have been passed if:
— no flames emerge from the outside of the indirectly flamed side of the fire limitation blanket for more than 5 s during the test; and
— the test specimens show no holes or seam failure at the end of the test.
A.4.8 A.4.6 and A.4.7 can be carried out simultaneously if the temperatures described in Table A.1 and Figure A.3 are reached at the two thermocouples X1 and X2.
Table A.1 — Temperature course for the thermal resistance test of the fire limitation blanket
| Time (min) | Temperature (°C) |
|---|---|
| 0 | 20 ± 5 |
| 10 | 1,000 ± 50 |
| 10.5 | 1,000 ± 50 |
| 12 | 700 ± 50 |
| 13 | 700 ± 50 |
| 14 | 1,000 ± 50 |
| 15 | 1,000 ± 50 |
| 16 | 700 ± 50 |
| 17 | 700 ± 50 |
| 18 | 1,000 ± 50 |
| 19 | 1,000 ± 50 |
| 20 | 700 ± 50 |
| 21 | 700 ± 50 |
| 22 | 1,000 ± 50 |
| 23 | 1,000 ± 50 |

Key
T = temperature, in °C
t = time, in min
Figure A.3 — Schematic presentation of the temperature course of the thermal resistance tests
NOTE: The temperatures selected correspond to the measured values known in the literature. In addition, when applying the fire limitation blanket, it is possible that oxygen cannot be completely excluded (for example, if the electric vehicle is positioned over a gully). Additionally, the use case of the fire limitation blanket as protection for an electric vehicle standing next to a critical vehicle is also possible with the parameters selected here.
A.4.9 Video recordings or photographs with time stamps shall be made to prove compliance with these requirements.
A.4.10 A test report shall be prepared for the fire test. The body that carried out the test shall prepare the expert opinion on the use of the fire limitation blanket based on the test results.
Bibliography
[1] Technische Quarantäneflächen für beschädigte Fahrzeuge mit Lithium-Ionen-Batterien
DIN EN 1869:2019-10, Fire blankets; German version EN 1869:2019
DIN EN 16034, Pedestrian doorsets, industrial, commercial, garage doors and openable windows — Product standard, performance characteristics — Fire resistance and/or smoke control characteristics
ISO 6469-3:2021, Electrically propelled road vehicles — Safety specifications — Part 3: Electrical safety
FMVSS 302, Flammability of interior materials3
For more information and expert advice,
drop us a message.
Get in touch
Fire Cloak™
14-16 Gleadless Road
Sheffield
S2 3AB
UK
T: +44 (0)114 255 7700
F: +44 (0)114 255 7171
E: sales@firecloak.co.uk







